- 搪玻璃设备
- 王经理:05332860177
- 不锈钢有色金属设备
- 傅经理:13906430854
- 衬四氟设备及配件
- 傅经理:15253328001
- 技术咨询服务
- 王经理:18653342297
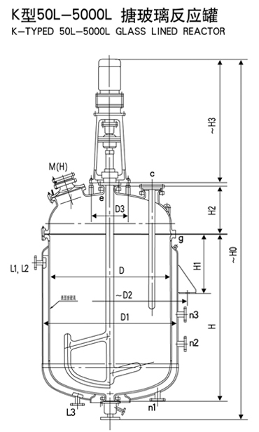
搪瓷反应釜釜盖、筒体及封头尺寸
来源:搪瓷反应釜厂家??日期:2021-09-22
搪瓷反应釜釜盖、筒体及封头尺寸,搪瓷反应釜作为大型化工设备,在各行各业都能被应用。所以对搪瓷反应釜多些了解对以后的工作生产是很有帮助的,今天我们就一起了解下搪瓷反应釜釜盖、筒体及封头尺寸。今天我们主要以K50L-K5000L的搪瓷反应釜为例进行介绍,大家请看下图内容。
以上是对搪瓷反应釜的简单图示介绍,不同规格的反应釜其参数是不同的,由于反应釜规格偏多,我们也不能一一放在这里进行介绍,大家如果想要了解更多型号的搪瓷反应釜,可以联系淄博福民的工作人员,我们会把相关的图纸发送给您。
淄博福民24小时客户服务热线:如果您对搪瓷反应釜感兴趣或有疑问,请致电:18753392299/0533-2860177,淄博福民化工设备--您贴心的采购厂家。
下一篇:淄博福民不锈钢发酵罐介绍













